産(chan)品型号:B725X-16T

公稱壓(ya)力:1.6MPa

工作介質:水(shui)、燃氣

工作溫度(du):-10℃≤t≤100℃

管螺紋标準:符(fú)合ISO228标準



産品詳(xiáng)情

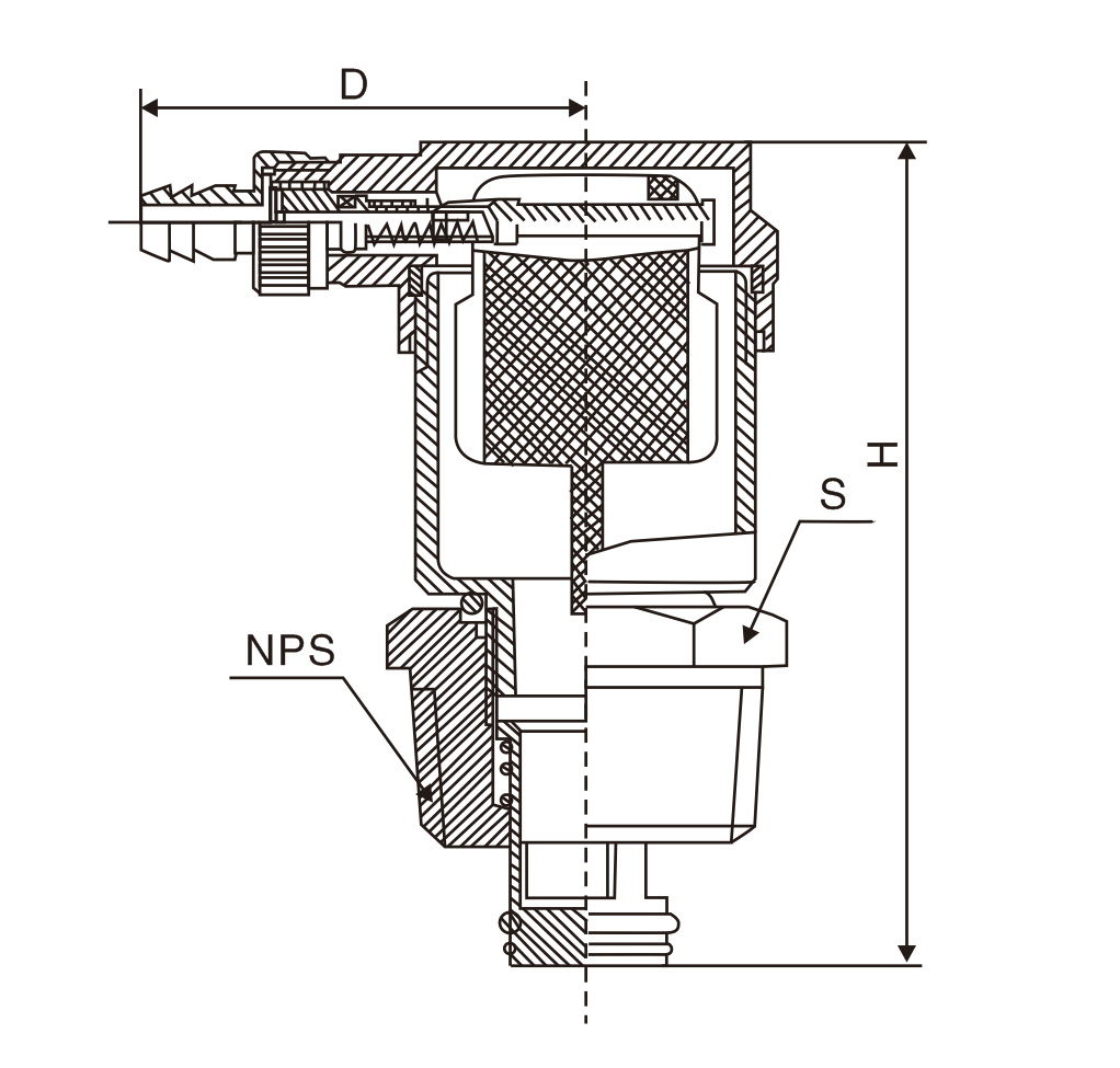
黃(huang)銅自動單向排(pai)氣閥(圖1)



主要外(wai)形尺寸

DN(mm)

NPS(in)

H

D

SW

15

76

47.5

1/2

22

3/4

27

25

1

79

47.5

1

33.5


産品推(tuī)薦