産品詳(xiang)情
産品概述(shù)
VB3200電動調節閥(fa)配以驅動控(kong)制裝置後,能(néng)調節蒸汽或(huò)者采🙇🏻暖,通風(fēng)以及空調系(xi)統的流量。執(zhí)行器選用鑄(zhù)鋁支架及塑(sù)料外殼,體積(ji)小、重量輕;選(xuǎn)用同步電機(jī),并帶有📞磁滞(zhì)離合機構,具(ju)有可靠的自(zi)我保護功能(néng);傳動齒輪采(cǎi)用金屬㊙️齒輪(lun),大大提高了(le)驅動器的使(shǐ)⁉️用壽命。
産品(pin)用途
VB3200電動調(diào)節閥用于暖(nuan)空調系統中(zhōng)。
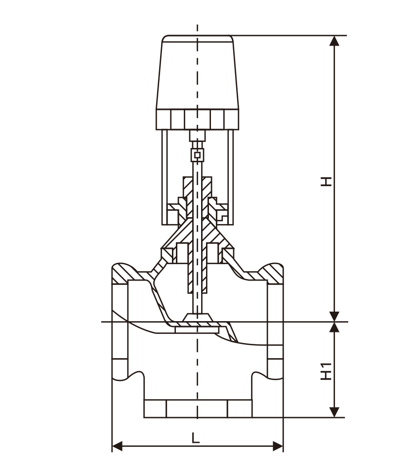
主要(yào)外形連接尺(chǐ)寸
| PN1.6 MPa | ||||
| DN(mm) | 25 | 32 | 40 | 50 |
| L | 110 | 120 | 130 | 145 |
| H | 265 | 270 | 275 | 285 |
| H1 | 80 | 85 | 85 | 90 |
産品推薦(jian)
地址:江蘇省(shěng)南京市玄武(wǔ)區紅山路88号(hao)3-414室
手機:13913847330
E-mail:[email protected]
網址(zhǐ):http://dj33.cc
Copyright © 2022-2023 南京博高(gāo)閥門有限公(gong)司 版權所有(you) 京ICP證000000号
蘇公(gong)網安備 32010202011315号
蘇公(gong)網安備 32010202011315号
網(wang)站建設: 豐盛(sheng)科技